金属材料的硬度
硬度是指材料抵抗局部变形,特别是塑性变形、压痕或划痕的能力。它是衡量材料软硬的指标。
按测试方法的不同,硬度分为三种类型。
①划痕硬度。主要用于比较不同矿物的软硬程度,方法是选一根一端硬一端软的棒,将被测材料沿棒划过,根据出现划痕的位置确定被测材料的软硬。定性地说,硬物体划出的划痕长,软物体划出的划痕短。
②压入硬度。主要用于金属材料,方法是用一定的载荷将规定的压头压入被测材料,以材料表面局部塑性变形的大小比较被测材料的软硬。由于压头、载荷以及载荷持续时间的不同,压入硬度有多种,主要是布氏硬度、洛氏硬度、维氏硬度和显微硬度等几种。
③回跳硬度。主要用于金属材料,方法是使一特制的小锤从一定高度自由下落冲击被测材料的试样,并以试样在冲击过程中储存(继而释放)应变能的多少(通过小锤的回跳高度测定)确定材料的硬度。
金属材料最常见到的布氏硬度、洛氏硬度和维氏硬度属于压入硬度,硬度值表示材料表面抵抗另一物体压入时所引起的塑性变形的能力;回跳法(肖氏、里氏)测量硬度,硬度值代表金属弹性变形功能的大小。
布氏硬度 Brinell Hardness
用直径D的淬火钢球或硬质合金球作压头,以相应的试验力F压入试件表面,经规定的保持时间后,卸除试验力,得到一直径为d的压痕。用试验力除以压痕表面积,所得值即为布氏硬度值,符号用HBS或HBW表示。
HBS和HBW的区别是压头的不同。HBS表示压头为淬硬钢球,用于测定布氏硬度值在450以下的材料,如软钢、灰铸铁和有色金属等。HBW表示压头为硬质合金,用于测定布氏硬度值在650以下的材料。
同样的试块,当其它试验条件完全相同的情况下,两种试验结果不同,HBW值往往大于HBS值,而且并无定量的规律所循。
2003年以后,我国已经等效采用国际标准,取消了钢球压头,全部采用硬质合金球头。因此HBS停止使用,全部用HBW表示布氏硬度符号。很多时候布氏硬度仅用HB表示,指的就是HBW。不过在文献论文中HBS仍时有所见。
布氏硬度测量法适用于铸铁、非铁合金、各种退火及调质的钢材,不宜测定太硬、太小、太薄和表面不允许有较大压痕的试样或工件。
洛氏硬度 Rockwell Hardness
用锥顶角为120°的金刚石圆锥或?1.588mm和?3.176mm淬火钢球作压头和载荷配合使用,在10kgf初载荷和60、100或150kgf力总载荷(即初载荷加主载荷)先后作用下压入试样,在总载荷作用后,以卸除主载荷而保留主载荷时的压入深度与初载荷作用下压入深度之差来表示硬度。

洛氏硬度试验采用三种试验力,三种压头,它们共有9种组合,对应于洛氏硬度的9个标尺。这9个标尺的应用涵盖了几乎所有常用的金属材料。常用的有HRA、HRB和HRC三种,其中HRC应用最广。
表 常用洛氏硬度试验规范
|
硬度
符号
|
压头类型
|
总试验力
F/N(kgf)
|
硬度
范围
|
应用举例
|
|
HRA
|
120°金刚石
圆锥
|
588.4(60)
|
20~88
|
硬质合金、碳化物、
浅层表面硬化钢等
|
|
HRB
|
?1.588mm
淬火钢球
|
980.7(100)
|
20~100
|
退火、正火钢、铝合
金、铜合金、铸铁
|
|
HRC
|
120°金刚石
圆锥
|
1471(150)
|
20~70
|
淬火钢、调质钢、深
层表面硬化钢
|
HRC标尺的使用范围是20~70HRC。当硬度值小于20HRC时,因为压头的圆锥部分压入太多,灵敏度下降,这时应改用HRB标尺;当试样硬度大于67HRC时,压头尖端承受的压力过大,金刚石容易损坏,压头寿命会大大缩短,因此一般应改用HRA标尺。
洛氏硬度试验操作简便、迅速、压痕小,可测试成品表面及较硬、较薄的工件。因压痕小,对于组织和硬度不均匀的材料,硬度值波动较大,准确性不如布氏硬度高。洛氏硬度用于测定钢铁、有色金属、硬质合金等的硬度。
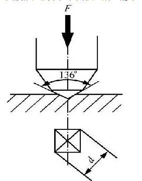
维氏硬度 Vickers Hardness
维氏硬度测量原理与布氏硬度相似。采用相对面夹角为136°金刚石正四棱锥压头,以规定的试验力F压入材料的表面,保持规定时间后卸除试验力,用正四棱锥压痕单位表面积上所受的平均压力表示硬度值,标记符号为HV。
维氏硬度测量范围大,可测量硬度为10~1000HV范围的材料,压痕小,一般用来测量较薄的材料和渗碳、渗氮等表面硬化层。
里氏硬度 Leeb Hardness
用一定质量的装有碳化钨球头的冲击体,在一定力的作用下冲击试件表面,然后反弹。由于材料硬度不同,撞击后的反弹速度也不同。在冲击装置上安装有永磁材料,当冲击体上下运动时,其外围线圈便感应出与速度成正比的电磁信号,再通过电子线路转换成里氏硬度值,符号标记为HL。
里氏硬度仪无需工作台,其硬度传感器小如一只笔,可用手直接操作,无论是大、重型工件还是几何尺寸复杂的工件都能容易地检测。
里氏硬度另外一个优点是对产品表面损伤很轻,有时可作为无损检测;对各个方向,窄小空间及特殊部位硬度测试具有独特性。
|